Клапаны гидроуправляемые встраиваемые тип МКГВ

15,01 руб.
Показать оптовые цены- В наличии
- Оптом и в розницу
- +375 (17) 367-92-00Тел./факс офиса
- +375 (29) 383-82-01Александр (аренда гаража)
Технические характеристики
|
Параметр |
Условный проход, мм |
||
|
16 |
25 |
32 |
|
|
Давление на входе, МПа: |
|
||
|
номинальное |
32 |
||
|
максимальное для исполнений с дистанционным гидравлическим управлением |
42 |
||
|
максимальное для исполнений с электрогидравлическим управлением |
35 |
||
|
минимальное |
См. графики на рис. 247, 248, 249, 251, 250, 252 |
||
|
Максимально допустимое давление на выходе (в линии отвода основного потока рабочей жидкости), МПа: |
|
||
|
для исполнений с дистанционным гидравлическим управлением |
42 |
||
|
для исполнений с электрогидравлическим управлением |
32 |
||
|
Давление открывания, МПа |
0,05 |
0,15 |
0,3 |
|
Давление управления, МПа: максимальное: |
|
|
|
|
для исполнений е дистанционным гидравлическим управлением |
42 |
||
|
для исполнений с электрогидравлическим управлением |
32 |
||
|
минимальное для исполнений с гидрозамком в линии управления |
Определяется по формуле: Pmin =Pв/1,5 где Pв - давление в гидролинии В |
||
|
минимальное для исполнений с гидрозамком в основной линии |
Определяется по формуле: Pmin =Pа/10,5 где Pа - давление в гидролинии А |
||
|
минимальное для остальных исполнений |
Определяется по формуле: Pmin=(Pa-Pв)i+Pв где I - соотношение подклапанной и надклапанной полостей: |
||
|
Параметр |
16 |
25 |
32 |
|
Параметр |
16 |
25 |
32 |
|
Расход рабочей жидкости: номинальный: |
|
|
|
|
Масса, кг, для исполнений: |
|
|
|
|
для всех исполнений, кроме ниже перечисленных |
100 |
160 |
320 |
|
МКГВ-.../3Ф... |
1,05 |
1,7 |
2,7 |
|
для исполнений с гидрозамком в основной линии |
40 |
80 |
100 |
|
МКГВ-.../3Ф...ОВ... |
1,2 |
2,0 |
3,4 |
|
для исполнений с дросселирующей цапфой |
80 |
125 |
320 |
|
МКГВ-.../3Ф...ОР... |
1.5 |
2,3 |
3,7 |
|
для исполнений с ограничением хода |
63 |
100 |
250 |
|
МКГВ-.../3Ф...ОП... |
1,35 |
2,15 |
3,55 |
|
максимальный: |
|
|
|
|
МКГВ-.../3Ф...ОК... |
1,55 |
2,35 |
3,75 |
|
для всех исполнений, кроме ниже перечисленных |
200 |
450' |
750 |
|
МКГВ-.../3Ф...Э... |
2,7 |
3,1 |
4,1 |
|
для исполнений с гидрозамком в основной линии |
100 |
250 |
400 |
|
МКГВ-.../3Ф...ЭД.. |
3,3 |
3,6 |
4,9 |
|
для исполнений с дросселирующей цапфой |
160 |
380 |
650 |
|
МКГВ-.../3Ф...И... |
1,2 |
2,5 |
3,9 |
|
для исполнений с ограничением хода |
140 |
320 |
560 |
|
МКГВ-.../3Ф..ЭИ... |
3,6 |
4,2 |
5,8 |
|
Объем камеры управления (для исполнений с гидрозамком в основной линии), см3 |
2 |
5 |
8 |
|
МКГВ-.../3Ф...ЭИО... |
3,6 |
4,3 |
5,4 |
|
Соотношение площадей управляющего поршня и вспомогательного клапана: |
|
|
|
|
МКГВ-.../3Ф...ГЗ... |
3,9 |
3,0 |
5,0 |
|
для исполнений с гидрозамком в линии управления |
2,5:1 |
2,5:1 |
2,51 |
|
МКГВ.../3Ф...ЭГЗ... |
4,1 |
4,5 |
6,0 |
|
для исполнений с гидрозамком в основной линии |
16:1 |
16:1 |
16:1 |
|
МКГВ-.../3Ф...Г30... |
1,8 |
3,5 |
6,5 |
|
Внутренняя герметичность (максимальные внутренние утечки), см3/мин, не более: |
|
0,5 |
|
|
МКГВ-.../3Ф..Д... |
1,5 |
2,4 |
4,0 |
|
в сопряжении «клапан-седло» по основному запорному элементу (кроме исполнений МКГВ-.../3ФА) |
|
0,5 |
|
|
МКГВ-.../3ФА1Э... |
2,7 |
3,1 |
4,1 |
|
по направляющей части основного запорного элемента |
20 |
40 |
100 |
|
|
|
|
|
|
по поршню в линии управления для исполнений с гидрозамком в основной линии |
40 |
70 |
80 |
|
|
|
|
|
|
суммарные по сопряжению «клапан—седло» и направляющей части в основном запорном элементе для исполнений МКГВ-.../3ФА |
40 |
60 |
120 |
|
|
|
|
|
|
в сопряжении «клапан—седло» в линиях управления в гид-роуправляемых клапанах с элементом ИЛИ, с обратным клапаном |
|
0,2 |
|
|
|
|
|
|
|
Номинальный перепад давления (при номинальном расходе), МПа: |
|
|
|
|
|
|
|
|
|
для исполнений с гидрозамком в основной линии |
0,25 |
0,22 |
0,25 |
|
|
|
|
|
|
для остальных исполнений |
0,18 |
0,07 |
0,12 |
|
|
|
|
|
|
Зависимость перепада давления (потеря давления) от расхода |
|
|
|
|
|
|||
|
Время срабатывания при номинальных значениях давления и расхода, с: |
|
|
|
|
|
|
|
|
|
максимальное для исполнений: |
|
|
|
|
|
|
|
|
|
МКГВ-.../3Ф1Э...1... |
0,2 |
0,2 |
0,36 |
|
|
|
|
|
|
МКГВ-.../3Ф1Э...2... |
0,15 |
0,18 |
0,3 |
|
|
|
|
|
|
МКГВ-.../3Ф1Э...З... |
0,1 |
0,16 |
0,2 |
|
|
|
|
|
|
МКГВ-.../3Ф1ЭИ...1... |
0,2 |
0,2 |
0,36 |
|
|
|
|
|
|
МКГВ-.../3Ф1ЭИ...2... |
0,15 |
0,18 |
0,3 |
|
|
|
|
|
|
МКГВ-.../3Ф1ЭИ...Э... |
0,1 |
0,16 |
0,2 |
|
|
|
|
|
|
МКГВ-.../3Ф1ЭИ0...1... |
0,2 |
0,2 |
0,36 |
|
|
|
|
|
|
МКГВ-.../3Ф1ЭИ0...2... |
0,2 |
0,18 |
0,3 |
|
|
|
|
|
|
МКГВ-.../3Ф1ЭИО...З... |
0,15 |
0,16 |
0,2 |
|
|
|
|
|
|
МКГВ-.../3Ф1ЭД...1... |
0,2 |
0,2 |
0,36 |
|
|
|
|
|
|
МКГВ-.../3Ф1ЭД...2... |
0,2 |
0,18 |
0,3 |
|
|
|
|
|
|
МКГВ-.../3Ф1ЭД...З... |
0,15 |
0,16 |
0,2 |
|
|
|
|
|
|
МКХВ-.../3Ф2Э..1... |
0,2 |
0,2 |
0,36 |
|
|
|
|
|
|
МКГВ-.../3Ф2Э...2... |
0,15 |
0,18 |
0,3 |
|
|
|
|
|
|
МКГВ-.../3Ф2Э...З... |
0,1 |
0,16 |
0,2 |
|
|
|
|
|
|
МКГВ-.../3ФЦ2Э..1... |
0,18 |
0,19 |
0,27 |
|
|
|
|
|
|
МКГВ-.../3ФЦ2Э...2... |
0,13 |
0,16 |
0,25 |
|
|
|
|
|
|
МКГВ-.../3ФЦ2Э...З... |
0,08 |
0,11 |
0,2 |
|
|
|
|
|
|
МКГВ-.../3ФЦ2ЭИ...1... |
0,18 |
0,19 |
0,2 |
|
|
|
|
|
|
МКГВ-.../3ФЦ2ЭИ...2... |
0,13 |
0,16 |
0,25 |
|
|
|
|
|
|
МКГВ-.../3ФЦ2ЭИ...З... |
0,08 |
0,11 |
0,2 |
|
|
|
|
|
|
МКГВ-.../3ФЦ2ЭИО..1... |
0,18 |
0,19 |
0,27 |
|
|
|
|
|
|
МКГВ-.../3ФЦ2ЭИ0...2... |
0,13 |
0,16 |
0,25 |
|
|
|
|
|
|
МКГВ-.../3ФЦ2ЭИО...З... |
0,08 |
0,11 |
0,2 |
|
|
|
|
|
|
МКГВ-.../3ФЦ2ЭД..1.. |
0,18 |
0,19 |
0,27 |
|
|
|
|
|
|
МКГВ-.../3ФЦ2ЭД...2... |
0,13 |
0,16 |
0,25 |
|
|
|
|
|
|
МКГВ-.,./3ФЦ2ЭД...З.. |
0,08 |
0,11 |
0,2 |
|
|
|
|
|
|
МКХВ-.../3Ф2ЭГЗ..1... |
0,2 |
0,2 |
0,4 |
|
|
|
|
|
|
МКГВ-.../3Ф2ЭГ3...2... |
0,18 |
0,18 |
0,36 |
|
|
|
|
|
|
МКГВ-.../3Ф2ЭГЗ...З... |
0,15 |
0,16 |
0,21 |
|
|
|
|
|
|
МКГВ-.../3ФЦ2ЭГЗ..1... |
0,18 |
0,15 |
0,3 |
|
|
|
|
|
|
МКГВ-.../3ФЦ2ЭГ3...2... |
0,16 |
0,14 |
0,25 |
|
|
|
|
|
|
МКГВ-.../3ФЦ2ЭГЗ...З... |
0,14 |
0,2 |
0,2 |
|
|
|
|
|
|
минимальное |
0,05 |
0,05 |
0,05 |
|
|
|
|
|
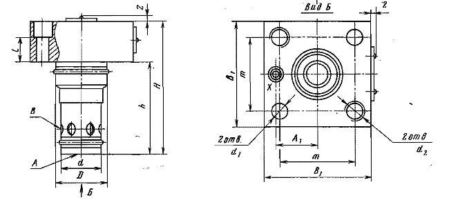
Габаритные и присоединительные размеры гидроклапанов типов МКГВ-.../3Ф1,..,
МКГВ-.../3ФА1.... МКГВ-.../3Ф2,.., МКГВ-.../3ФА2..., МКГВ-.../3ФБ2..., МКГВ-.../3ФЦ2...

|
Типоразмер |
Н, не более |
h, не более |
D |
d |
D1 |
D2 |
A1 |
B1 |
m±0,1 |
l, не более |
|
МКГВ-16/3Ф1... |
|
|
|
|
|
|
|
|
|
|
|
МКГВ-16/3ФА1... |
|
|
|
|
|
|
|
|
|
|
|
МКГВ-16/ЭФ2... |
81 |
56 |
32 |
25 |
9 |
М12 |
25 |
65 |
46 |
14 |
|
МКГВ16/3ФА2… |
|
|
|
|
|
|
|
|
|
|
|
МКГВ-16/3ФБ2... |
|
|
|
|
|
|
|
|
|
|
|
МКГВ-16/3ФЦ2... |
|
|
|
|
|
|
|
|
|
|
|
|
|
|
|
|
|
|
|
|
|
|
|
МКГВ-25/3Ф1... |
|
|
|
|
|
|
|
|
|
|
|
МКГВ-25/3ФА1... |
|
|
|
|
|
|
|
|
|
|
|
МКГВ-25/3Ф2… |
97 |
72 |
45 |
34 |
14 |
М16 |
33 |
85 |
58 |
9 |
|
МКГВ-25/3ФА2… |
|
|
|
|
|
|
|
|
|
|
|
МКГВ-26/3ФБ2... |
|
|
|
|
|
|
|
|
|
|
|
МКГВ-25/3ФЦ2... |
|
|
|
|
|
|
|
|
|
|
|
|
|
|
|
|
|
|
|
|
|
|
|
МКГВ-32/3Ф1... |
|
|
|
|
|
|
|
|
|
|
|
МКГВ-32/3ФА1... |
|
|
|
|
|
|
|
|
|
|
|
МКГВ-32/3Ф2... |
112 |
85 |
60 |
45 |
17 |
М20 |
41 |
102 |
70 |
7 |
|
МКГВ-32/3ФА2… |
|
|
|
|
|
|
|
|
|
|
|
МКГВ-32/3ФБ2... |
|
|
|
|
|
|
|
|
|
|
|
МКГВ-32/3ФЦ2... |
|
|
|
|
|
|
|
|
|
|
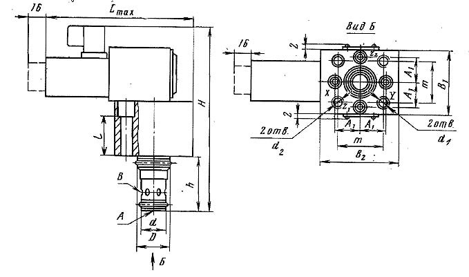
Габаритные и присоединительные размеры гидроклапанов типа МКГВ-.../3Ф...Э...

|
Типоразмер |
Н, не более |
h, не более |
L |
D |
d |
d1 |
d3 |
A1 |
B1 |
B2 |
m±0,1 |
l, не более |
|
МКГВ-16/3Ф1Э... |
161 |
56 |
147 |
32 |
25 |
9 |
М12 |
25 |
65 |
80 |
46 |
19 |
|
МКГВ-16/3Ф2Э... |
||||||||||||
|
МКГВ-16/3ФЦ2Э... |
||||||||||||
|
|
|
|
|
|
|
|
|
|
|
|
|
|
|
МКТВ-26/ЭФ1Э... |
174 |
72 |
139 |
45 |
34 |
14 |
M16 |
33 |
85 |
85 |
58 |
10 |
|
МКГВ-26/3Ф2Э... |
||||||||||||
|
МКГВ-25/3ФЦ2Э... |
||||||||||||
|
|
|
|
|
|
|
|
|
|
|
|
|
|
|
МКГВ-32/3Ф1Э... |
188 |
85 |
144 |
60 |
45 |
17 |
М20 |
41 |
102 |
102 |
70 |
7 |
|
МКГВ-32/3Ф2Э... |
||||||||||||
|
МКГВ-32/3ФЦ2Э... |
||||||||||||
|
|
|
|
|
|
|
|
|
|
|
|
|
|
|
МКГВ-16/3ФА1Э... |
161 |
56 |
147 |
32 |
25 |
9 |
М12 |
25 |
65 |
80 |
46 |
19 |
|
МКГВ-26/3ФА1Э... |
174 |
72 |
139 |
45 |
34 |
14 |
М16 |
33 |
85 |
85 |
58 |
10 |
|
МКГВ-28/3ФА1Э... |
188 |
85 |
144 |
60 |
45 |
17 |
М20 |
41 |
102 |
102 |
70 |
7 |
Габаритные и присоединительные размеры гидроклапанов типов МКГВ-../ЗФ...ЭИ, МКГВ-.../ЗФ...ЭИО

|
Типоразмер |
H, не более |
h, не более |
D |
d |
d1 |
d2 |
L, не более |
A1 |
B1 |
B2 |
m |
l |
|
МКГВ-163Ф1ЭИ... |
|
|
|
|
|
|
|
|
|
|
|
|
|
МКГВ-163Ф2ЭИ... |
181 |
56 |
32 |
25 |
9 |
М12 |
147 |
25 |
65 |
80 |
46 |
39 |
|
МКГВ-163ФЦ2ЭИ... |
|
|
|
|
|
|
|
|
|
|
|
|
|
|
|
|
|
|
|
|
|
|
|
|
|
|
|
МКГВ-163Ф1ЭИО... |
|
|
|
|
|
|
|
|
|
|
|
|
|
МКГВ-163Ф2ЭИО... |
181 |
56 |
32 |
25 |
9 |
М12 |
147 |
25 |
65 |
80 |
46 |
39 |
|
МКГВ-16/ЭФЦ2ЭИО... |
|
|
|
|
|
|
|
|
|
|
|
|
|
|
|
|
|
|
|
|
|
|
|
|
|
|
|
МКГВ-253Ф1ЭИ... |
|
|
|
|
|
|
|
|
|
|
|
|
|
МКГВ-253Ф2ЭИ... |
196 |
72 |
45 |
34 |
14 |
M16 |
139 |
33 |
85 |
85 |
58 |
33 |
|
МКГВ-253ФЦ2ЭИ... |
|
|
|
|
|
|
|
|
|
|
|
|
|
|
|
|
|
|
|
|
|
|
|
|
|
|
|
МКГВ-263Ф1ЭИО... |
|
|
|
|
|
|
|
|
|
|
|
|
|
МКГВ-253Ф2ЭИО... |
197 |
72 |
45 |
34 |
14 |
М16 |
139 |
33 |
85 |
85 |
58 |
34 |
|
МКГВ-253ФЦ2ЭИО... |
|
|
|
|
|
|
|
|
|
|
|
|
|
|
|
|
|
|
|
|
|
|
|
|
|
|
|
МКГВ-3213Ф1ЭИ... |
|
|
|
|
|
|
|
|
|
|
|
|
|
МКТВ-323Ф2ЭИ... |
209 |
85 |
60 |
45 |
17 |
М20 |
146 |
41 |
102 |
102 |
70 |
29 |
|
МКГВ-323ФЦ2ЭИ... |
. |
|
|
|
|
|
|
|
|
|
|
|
|
|
|
|
|
|
|
|
|
|
|
|
|
|
|
МКГВ-3213Ф1ЭИО... |
|
|
|
|
|
|
|
|
|
|
|
|
|
МКГВ-323Ф23ИО... |
200 |
85 |
60 |
45 |
17 |
М20 |
144 |
41 |
102 |
102 |
70 |
20 |
|
МКГВ-323ФЦ2ЭИО... |
|
|
|
|
|
|
|
|
|
|
|
|
Габаритные и присоединительные размеры гидроклапанов типов МКГВ-.../ЗФ1И, МКГВ-.../ЗФ2И, МКГВ-.../ЗФЦ2И

|
Типоразмер |
H, не более |
h, не более |
D |
d |
d1 |
d2 |
A1 |
B1 |
m |
l |
|
МКГВ-16/ЗФ1И... |
|
|
|
|
|
|
|
|
|
|
|
МКХВ-16/ЗФ2И... |
94 |
56 |
32 |
25 |
9 |
М12 |
25 |
65 |
46 |
27 |
|
МКГВ-16/ЗФЦ2И... |
|
|
|
|
|
|
|
|
|
|
|
|
|
|
|
|
|
|
|
|
|
|
|
МКГВ-2е/ЗФ1И... |
|
|
|
|
|
|
„ |
|
|
|
|
МКГВ-25/ЭФ2И... |
ПО |
72 |
45 |
34 |
14 |
М16 |
33 |
85 |
58 |
22 |
|
МКГВ-25/ЗФЦ2И... |
|
|
|
|
|
|
|
|
|
|
|
|
|
|
|
|
|
|
|
|
|
|
|
МКГВ-32/ЗФ1И... |
|
|
|
|
|
|
|
|
|
|
|
МКГВ-32/ЗФ2И... |
123 |
85 |
60 |
45 |
17 |
М20 |
41 |
102 |
70 |
18 |
|
МКГВ-32/ЗФЦ2И... |
|
|
|
|
|
|
|
|
|
|
Габаритные и присоединительные размеры гидроклапанов типов МКГВ-.../ЗФ2ГЗ, МКГВ-.../ЗФЦ2ГЗ

|
Типоразмер |
H, не более |
h, не более |
D |
d |
d1 |
d2 |
A1 |
B1 |
m |
l |
|
МКГВ-16/ЗФ2ГЗ... |
103 |
Б6 |
32 |
25 |
9 |
М12 |
25 |
65 |
46 |
36 |
|
МКГВ-2Б/ЗФ2ГЗ... |
119 |
72 |
45 |
34 |
14 |
М16 |
33 |
85 |
58 |
31 |
|
МКГВ-32/ЗФ2ГЗ... |
131 |
85 |
60 |
45 |
17 |
М20 |
41 |
102 |
70 |
27 |
Габаритные и присоединительные размеры гидроклапанов типов МКГВ-.../ЗФ...ЭГЗ..., МКГВ-.../ЗФ...ЭД

|
Типоразмер |
H, не более |
h, не более |
D |
d |
d1 |
d2 |
L |
A1 |
B1 |
B2 |
m |
l |
|
МКГВ-16/ЗФ2ЭГЗ... |
187 |
56 |
32 |
25 |
9 |
М12 |
139 |
25 |
65 . |
80 |
46 |
45 |
|
МКГВ-25/ЗФ2ЭГЗ... |
203 |
72 |
45 |
34 |
14 |
М16 ~ |
139 |
33 |
85 |
85 |
58 |
39,5 |
|
МКГВ-32/ЗФ2ЭГЗ... |
216 |
85 |
60 |
45 |
17 |
М20 |
146 |
41 |
102 |
102 |
70 |
35,5 |
|
МКГВ-16/ЗФ1ЭД... |
165 |
56 |
32 |
25 |
9 |
М12 |
147 |
25 |
65 |
80 |
46 |
23 |
|
МКГВ-25/ЗФ1ЭД... |
184 |
72 |
45 |
34 |
14 |
М16 |
139 |
33 |
85 |
85 |
58 |
21 |
|
МКГВ-32/3Ф1ЭД... |
195 |
85 |
45 | |
45 |
17 |
М20 |
144 |
41 |
102 |
102 |
70 |
15 |
244. Габаритные и присоединительные размеры гадроклапанов типов МКГВ-.../ЗФ2Г30...

|
Типоразмер |
H, не более |
h, не более |
D |
d |
d1 |
d2 |
A1 |
B1 |
m |
l |
|
МКГВ-16/ЗФ2Г30... |
102 |
86 |
32 |
25 |
9 |
М12 |
25 |
65 |
46 |
35 |
|
МКГВ-25/ЗФ2Г30... |
130 |
72 |
45 |
34 |
14 |
М16 |
35 |
85 |
58 |
39 |
|
МКГВ-32/ЗФ2Г30... |
160 |
85 |
60 |
45 |
17 |
М20 |
41 |
102 |
70 |
53 |
245. Габаритные и присоединительные размеры гадроклапанов типа МКГВ-.../ЗФ20...

|
Типоразмер |
D |
d |
d1 |
H, не более |
h, не более |
A1 |
B1 |
m |
l |
|
МКГВ-16/ЗФ20В |
32 |
25 |
9 |
123 |
56 |
25 |
65 |
46 |
16 |
|
МКГВ-26/ЗФ20В |
45 |
34 |
14 |
159 |
72 |
33 |
" 85 |
58 |
11 |
|
МКГВ-32/ЗФ20В |
60 |
45 |
17 |
181 |
85 |
41 |
102 |
70 |
8 |
Габаритные и присоединительные размеры гидроклапанов типов МКГВ-.../ЗФ1К..., МКГВ-.../ЗФА1К..., МКГВ-.../ЗФ2К..., МКГВ-.../ЗФБ2К..

|
Типоразмер |
H, не более |
h, не более |
D |
d |
d1 |
d2 |
A1 |
B1 |
m |
l |
|
МКГВ-16/ЗФ1К... |
93 |
56 |
32 |
25 |
9 |
M12 |
25 |
65 |
46 |
26 |
|
МКГВ-25/ЗФ1К... |
109 |
72 |
45 |
34 |
14 |
M16 |
33 |
85 |
58 |
21 |
|
МКГВ-32/ЗФ1К... |
122 |
85 |
60 |
45 |
17 |
M20 |
41 |
102 |
70 |
17 |
| Основные | |
|---|---|
| Максимальное рабочее давление | 100 бар |
| Минимальная рабочая температура | 0 град. |
| Тип присоединения | Штуцерное |
| Максимальная рабочая температура | 300 град. |
| Минимальное рабочее давление | 0 бар |
- Цена: 15,01 руб.
